Zurück zur Objektiv-Liste

Nikon AI

1966

Technische Daten

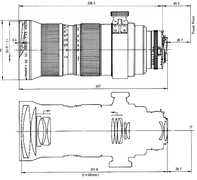
Brennweite
50- 300 mm
Maximale Blende
f/4.5
Minimale Blende
f/32
Anschluss
NikAIAIS
Linsenelemente
20 in 13 Gruppen
Naheinstellung
2.5

Bilder

Nikon AI
Nikon AI
Nikon AI

Info

ID: 569