Zurück zur Objektiv-Liste

Nikon AI/AIS

1981

Technische Daten

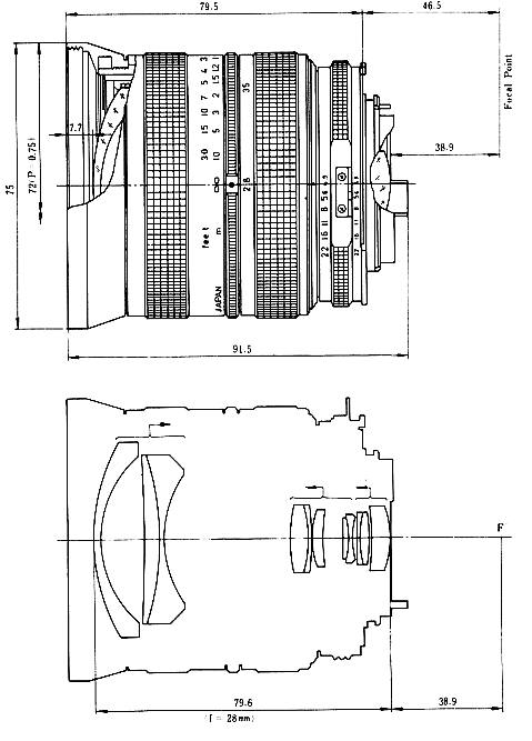
Brennweite
25- 50 mm
Maximale Blende
f/4.0
Minimale Blende
f/22
Anschluss
NikAIAIS
Linsenelemente
11 in 10 Gruppen
Naheinstellung
0.6
Gewicht
600

Bilder

Nikon AI/AIS
Nikon AI/AIS
Nikon AI/AIS

Info

ID: 606