Zurück zur Objektiv-Liste

Nikon AI/AIS

1981

Technische Daten

Brennweite
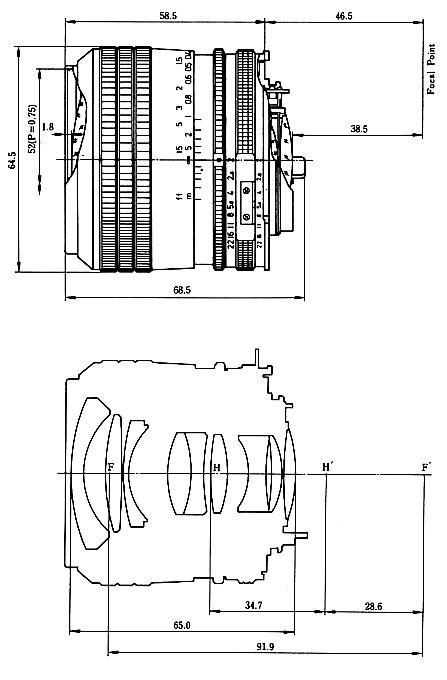
28 mm
Maximale Blende
f/2.0
Minimale Blende
f/22
Anschluss
NikAIAIS
Linsenelemente
9 in 8 Gruppen
Naheinstellung
0.25
Gewicht
355
Länge
68,5
Durchmesser
63

Beschreibung

CRC-Naheinstellkorektur

Bilder

Nikon AI/AIS
Nikon AI/AIS
Nikon AI/AIS
Nikon AI/AIS
Nikon AI/AIS

Info

ID: 607