Zurück zur Objektiv-Liste

Nikon AI/AIS

1981

Technische Daten

Brennweite
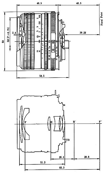
28 mm
Maximale Blende
f/3.5
Minimale Blende
f/22
Anschluss
NikAIAIS
Naheinstellung
0.3
Gewicht
235
Länge
54,5
Durchmesser
63,5

Bilder

Nikon AI/AIS
Nikon AI/AIS
Nikon AI/AIS
Nikon AI/AIS

Info

ID: 609