Zurück zur Objektiv-Liste

Nikon AI/AIS

1981

Technische Daten

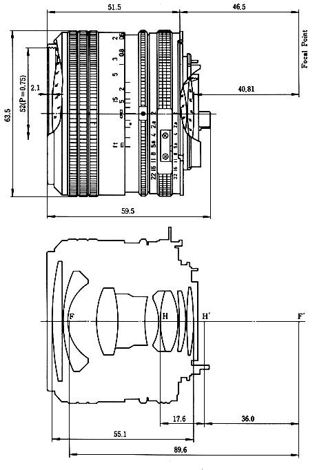
Brennweite
35 mm
Maximale Blende
f/2.0
Minimale Blende
f/22
Anschluss
NikAIAIS
Linsenelemente
8 in 6 Gruppen
Naheinstellung
0.3
Gewicht
280
Länge
59,5
Durchmesser
63,5

Bilder

Nikon AI/AIS
Nikon AI/AIS
Nikon AI/AIS
Nikon AI/AIS

Info

ID: 613