Zurück zur Objektiv-Liste

Nikon AI/AIS

1981

Technische Daten

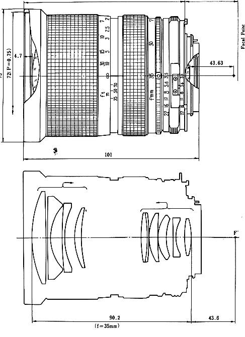
Brennweite
35- 70 mm
Maximale Blende
f/3.5
Minimale Blende
f/22
Anschluss
NikAIAIS
Linsenelemente
10 in 9 Gruppen
Naheinstellung
1

Bilder

Nikon AI/AIS
Nikon AI/AIS
Nikon AI/AIS
Nikon AI/AIS

Info

ID: 616