Zurück zur Objektiv-Liste

Nikon AI/AIS

1981

Technische Daten

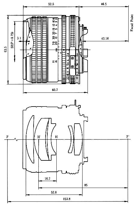
Brennweite
85 mm
Maximale Blende
f/2.0
Minimale Blende
f/22
Anschluss
NikAIAIS
Linsenelemente
5 in 5 Gruppen
Naheinstellung
0.85
Gewicht
310
Länge
61
Durchmesser
63,54

Bilder

Nikon AI/AIS
Nikon AI/AIS
Nikon AI/AIS

Info

ID: 627