Zurück zur Objektiv-Liste

Nikon AI/AIS

Technische Daten

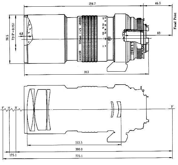
Brennweite
300 mm
Maximale Blende
f/4.5
Minimale Blende
f/32
Anschluss
NikAIAIS
Linsenelemente
6 in 5 Gruppen
Naheinstellung
3.5
Gewicht
1200
Länge
203
Durchmesser
78,5

Bilder

Nikon AI/AIS
Nikon AI/AIS
Nikon AI/AIS

Info

ID: 641