Zurück zur Objektiv-Liste

Nikon PC

1980

Technische Daten

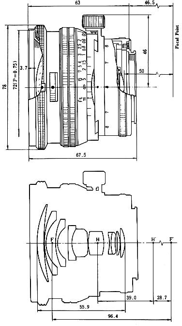
Brennweite
28 mm
Maximale Blende
f/3.5
Minimale Blende
f/22
Anschluss
Niknon-AI
Linsenelemente
9 in 8 Gruppen
Naheinstellung
0.3
Gewicht
380
Länge
69
Durchmesser
78

Bilder

Nikon PC
Nikon PC
Nikon PC
Nikon PC

Info

ID: 681